Our firm, in collaboration with Beijing Wei Chixue Law Firm, has recently closed......
Trademark administrative reconsideration refers to the administrative reconsidera......
Behaupten von „technischen Barrieren“ auf einer geschickten Weise bei der Erwiderung des Prüfungsbescheids hinsichtlich der erfinderischen Tätigkeit von Patentanmeldungen


Yunpeng LIU
Chinesischer Patentanwalt

I. Einleitung
 
Nach Artikel 22 Absatz 1 des Patentgesetzes sollten Erfindungen und Gebrauchsmuster, für die Patentrechte erteilt werden, Neuheit, erfinderische Tätigkeit und gewerblichen Anwendbarkeit aufweisen. Daher setzt die Erteilung der Patentrechte die erfinderische Tätigkeit der Anmeldungen von Erfindung und Gebrauchsmuster voraus.
 
Bei der Bestimmung der erfinderischen Tätigkeit wird in der Regel das „Drei-Schritte-Verfahren“ angewandt: (1) Ermittlung des nächstliegenden Stands der Technik; (2) Ermittlung der kennzeichnenden Merkmale der Anmeldung und der durch die Anmeldung tatsächlich gelösten technischen Aufgabe; und (3) Ermittlung, ob die den Schutz beanspruchte Erfindung für einen Fachmann auf dem technischen Gebiet, zu dem die Erfindung gehört, offenbar gewesen wäre.
 
Hinsichtlich des dritten Schritts, würde der Prüfer in der Patentprüfungspraxis oft den nächstliegenden Stand der Technik mit dem einschlägigen Stand der Technik oder dem allgemeinen Fachwissen kombinieren und beschließen, dass sich aus dem einschlägigen Stand der Technik oder dem allgemeinen Fachwissen eine Inspiration zur Lösung derselben technischen Aufgabe wie in der Patentanmeldung mit Hilfe des kennzeichnenden Merkmals ergeben. Dann kommt der Prüfer somit zu diesem Schluss, dass das kennzeichnende Merkmal für einen Fachmann auf dem zugehörigen Gebiet der Technik offensichtlich wäre.
 
Wenn der Anmelder mit einem solchen Prüfungsbescheid konfrontiert wird, kann er es als eines der stärksten Argumente geltend machen, dass der Kombination zwischen dem nächstliegenden Stand der Technik und dem einschlägigen Stand der Technik oder dem allgemeinen Fachwissen eine technische Barriere entgegensteht. Das heißt, wenn der Mangel an einer Motivation für die Kombination zwischen den beiden nachgewiesen werden kann, ist es natürlich möglich, sich über die Logik des Prüfers hinwegzusetzen.
 
Beim Behaupten einer „technischen Barriere“ zwischen dem nächstliegenden Stand der Technik und dem einschlägigen Stand der Technik oder dem allgemeinen Fachwissen sind zwei Gesichtspunkte gängig: zum einen, dass die Kombination der beiden in Bezug auf Aufbau oder Funktion widersprüchlich ist; und zum anderen, dass die Kombination der beiden zwar möglich ist, aber die technische Aufgabe der Erstgenannte nicht löst.
 
Manchmal sind die o.g. Faktoren, die zum Widerspruch führen, jedoch nicht ausdrücklich in den Dokumenten vermerkt. Daher ist es notwendig, dass der Patentanwalt in der Lage ist, über die tatsächliche Situation der Kombination nachzudenken und die möglichen Probleme auf der Grundlage eines gewissen Verständnisses der Technologie auf dem Gebiet ableitet, um die mögliche technische Barriere für die Kombination herauszufinden. Im Folgenden wird der Autor mit den Lesern durch seine eigenen Erfahrungen einen Fall teilen, in dem er den Widerspruch zwischen dem nächstliegenden Stand der Technik und dem einschlägigen Stand der Technik oder dem allgemeinen Fachwissen durch Vorausschau auf die Probleme, die bei der tatsächlichen Kombination auftreten könnten, erfolgreich geltend gemacht hat. Damit wird der Patentanmeldung schließlich das Patentrecht erteilt.
 
II. Fall

 
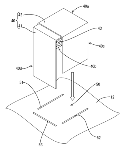
Der Anspruch 1 der vorliegenden Patentanmeldung des Falls (im Folgenden als „die vorliegende Anmeldung“ bezeichnet) beansprucht den Schutz des Aufbaus eines Beutels von einem Innenverkleidungsteil für Fahrzeug. Der Aufbau des Beutels ist in der nachstehenden Figur dargestellt, und umfasst ein Beutelbauteil (40) mit mehreren vorstehenden Abschnitten und ein Innenverkleidungsteil (12) mit mehreren Schlitzen, wobei die vorstehenden Abschnitte von einer Seite des Innenverkleidungsteils in die mehreren Schlitze eingeführt und an der anderen Seite des Innenverkleidungsteils aneinander befestigt werden, wodurch ein Beutel gebildet wird. Gemäß der obigen technischen Lösung ist es möglich, den Beutel durch einfache Ausführungen zu bilden.
 
 
Figur der vorliegenden Anmeldung
 
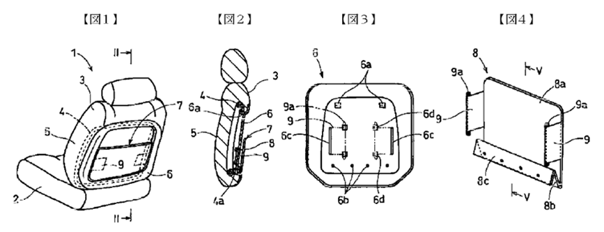
Dagegen hat der Prüfer den folgenden Stand der Technik als nächstliegenden Stand der Technik (im Folgenden als „D1“ bezeichnet) angeführt. In D1 wird ein Aufbau eines Beutels für eine Sitzrückenlehne offenbart. Der Aufbau des Beutels, wie in der nachstehenden Figur dargestellt, umfasst auch ein Beutelbauteil (8) mit mehreren vorstehenden Abschnitten und ein Innenverkleidungsteil (6) mit mehreren Schlitzen. Jedoch besteht der Unterschied zur vorliegenden Anmeldung darin, dass die untenliegenden vorstehenden Abschnitte nicht in die Schlitze des Innenverkleidungsteils eingeführt werden, und dass die einzelnen vorstehenden Abschnitte nicht auf der anderen Seite des Innenverkleidungsteils aneinander befestigt werden, sondern mit Hilfe von Bolzen oder dergleichen am Innenverkleidungsteil befestigt werden. Bei D1 werden die Bolzen o.ä. durch die am Innenverkleidungsteil befestigten untenliegenden vorstehenden Abschnitte verdeckt, wodurch das Aussehen verbessert wird.
 
 
  Figuren von D1
 
Ferner stellte der Prüfer fest, dass zur Befestigung des Beutels, die kennzeichnenden Merkmale der vorliegenden Anmeldung für einen Fachmann ohne weiteres vorstellbar gewesen wären.
 
Auf den ersten Blick ist es wahrscheinlich schwierig, gegen den Kommentar des Prüfers zu argumentieren. Schließlich gehören sowohl D1 als auch die vorliegende Anmeldung zum Gebiet der Innenverkleidungsteile für Fahrzeuge, und es gibt keinen offensichtlichen Widerspruch in Bezug auf Aufbau. Dazu wird es durch den Einsatz der Technologie der vorliegenden Anmeldung in D1 ermöglicht, zusätzliche Bolzen zu vermeiden und die Bildung des Beutels zu vereinfachen.
 
Der Autor hat sich jedoch eingehend mit der Situation befasst, das Beutelbauteil in der technischen Lösung von D1 durch das Beutelbauteil der vorliegenden Anmeldung zu ersetzen, und herausgefunden, dass es bei der obigen Kombination tatsächlich eine potenzielle technische Barriere gibt.
 
Konkret gesagt, wie der FIG. 2 von D1 zu entnehmen ist, gibt es ein deutliches Spiel auf der anderen Seite des Innenverkleidungsteils. Darüber hinaus ist es nach allgemeinem Fachwissen unvermeidlich, das Fahrzeug im Betrieb zu beschleunigen und zu verlangsamen. Wenn in diesem Fall das Beutelbauteil nicht direkt am Innenverkleidungsteil befestigt ist, sondern der Aufbau der vorliegenden Anwendung eingesetzt wird, bei dem die einzelnen vorstehenden Abschnitte des Beutelbauteils auf der anderen Seite des Innenverkleidungsteils aneinander befestigt sind, neigt das Beutelbauteil in Anwesenheit des Spiels aufgrund der Trägheit dazu, sich bei der Beschleunigung und der Verlangsamung des Fahrzeugs relativ zum Innenverkleidungsteil nach vorne und nach hinten zu bewegen, was sich nachteilig auf das Aussehen und die Verwendung des Beutelbauteils auswirkt. Wenn sich das Beutelbauteil relativ zum Innenverkleidungsteil nach vorne bewegt, wird der untenliegende vorstehende Teil als Ganzes in den Schlitz eingeführt und kann den Bolzen oder ähnliches nicht weiter verdecken, was dazu führt, dass die Aufgabe der Erfindung von D1 nicht gelöst wird.
 
Daher machte der Autor bei der Erwiderung auf den Prüfungsbescheid die oben genannte technische Barriere geltend. Dadurch wurde der Patentanmeldung schließlich erfolgreich das Patentrecht erteilt.
 
III. Zusammenfassung
 
In dem obigen Fall, obwohl weder in der vorliegenden Anmeldung noch in D1 von einer Situation die Rede ist, dass das Fahrzeug in Bewegung ist, sollte man als Patentanwalt bewusst sein, dass das Fahrzeug im Betreib in Bewegung ist. Dann sollte der Patentanwalt darauf Rücksicht nehmen, dass bei dem tatsächlichen Einsatz des Innenverkleidungsteils viele Probleme mit der Bewegung des Fahrzeugs (normalerweise einschließlich der Beschleunigung und der Verlangsamung des Fahrzeugs) einhergehen. Somit kann der Patentanwalt solche Probleme als widersprüchliche Faktoren der Kombination einbeziehen und damit eine technische Barriere geltend zu machen.
 
Aus den o.g. Fall kann der Schluss gezogen werden, dass bei der Ermittlung der Existenz von technischen Barrieren, auch wenn die Kombination der oben erwähnten beiden Parteien zu den gleichen oder ähnlichen technischen Gebieten gehören und es keine offensichtlichen Widersprüche in Bezug auf das Aufbau oder den Zweck gibt, bietet es sich immer noch die Möglichkeit, durch die Vorstellung der verschiedensten Umstände, die bei der tatsächlichen Kombination auftreten könnten, zu ermitteln, ob es unmerkliche Widersprüche gibt. Es ist zu beachten, dass solche Widersprüche oft nicht ausdrücklich in den Dokumenten vermerkt werden. Um sie herauszufinden sind das geduldige Überlegen und die sorgfältige Analyse des Patentanwalts erforderlich.

©2008-2026 By Linda Liu & Partners, All Rights Reserved.
©2008-2025 By Linda Liu & Partners, All Rights Reserved.
×

Öffnen Sie WeChat 'Scan', öffnen Sie die Webseite und klicken Sie auf die Schaltfläche Teilen in der oberen rechten Ecke des Bildschirms