Our firm, in collaboration with Beijing Wei Chixue Law Firm, has recently closed......
Trademark administrative reconsideration refers to the administrative reconsidera......
Die Rolle des Erfindungskonzepts bei der Beurteilung der erfinderischen Tätigkeit


Hui ZHENG
Chinesischer Patentanwalt
 
[Einleitung]
 
Es wurde von dem ehemaligen Patentüberprüfungsausschuss des Staatlichen Amts für geistiges Eigentum Chinas (Abteilung für Patentüberprüfung und Nichtigkeitsverfahren des Staatlichen Amts für geistiges Eigentum) in dem Buch „Rechtliche Auslegung anhand von Fällen – Leitfaden zu typischen Fällen der Patentüberprüfung und -nichtigkeit“ vorgeschrieben: „Das Erfindungskonzept bezieht sich im Allgemeinen auf die Idee zur technischen Verbesserung, die der Erfinder zur Lösung eines bevorstehenden technischen Problems im Prozess der Vollendung der Erfindung bei der Bestrebung nach der Lösung desselben Problems entwickelt.“ Dabei handelt es sich bei der „Idee zur technischen Verbesserung“ um den Gestaltungsansatz, den der Erfinder nach der Erforschung der das technische Problem hervorrufenden Ursachen ergreift, um diese Ursachen zu beseitigen oder abzuschwächen.
 
Die Kammer für geistiges Eigentum des Obersten Volksgerichts Chinas hat in ihren Leitsätzen der Rechtsentscheidungen im Jahr 2022 hingewiesen: „Bei der Anwendung der ,Drei-Schritte-Methode‘ zur Beurteilung, ob eine Erfindung erfinderische Tätigkeit aufweist, ist es zu beachten: falls zwischen der Erfindung und dem nächstliegenden Stand der Technik ein deutlicher Unterschied in Bezug auf das Erfindungskonzept besteht, kann es in der Regel festgestellt werden, dass es einem Fachmann im betreffenden technischen Gebiet an dem Motiv mangelt, die vorhandene Technik zu verbessern, um die vorliegende Erfindung zu erhalten; falls zwischen den als Stand der Technik geltenden Entgegenhaltungen ein deutlicher Unterschied in Bezug auf das Erfindungskonzept besteht, kann es in der Regel festgestellt werden, dass es in der vorhandenen Technik keinen technischen Aufschluss gibt, die Entgegenhaltungen zu kombinieren, um die vorliegende Erfindung zu erhalten“.
 
Mit anderen Worten ist es für den Fachmann im betreffenden technischen Gebiet schwierig, von der Idee zur technischen Verbesserung im nächstliegenden Stand der Technik zu einer deutlich unterschiedlichen anderen Idee zur technischen Verbesserung überzugehen oder bestehende Techniken mit deutlich unterschiedlichen Idee zur technischen Verbesserung miteinander zu kombinieren.
 
Daraus lässt sich schließen, dass die Berücksichtigung konkreter Unterschiede im Erfindungskonzept bei der Beurteilung der erfinderischen Tätigkeit dazu beiträgt, eine objektive und faire Bewertung dafür vorzunehmen.
 
Im Folgenden wird die „Rolle des Erfindungskonzepts bei der Beurteilung der erfinderischen Tätigkeit“ anhand von Fällen des Obersten Volksgerichts sowie der eigenen Praxiserfahrungen des Verfassers analysiert und erörtert.
 
[Fall 1] (2022) Urteil der Kammer für geistiges Eigentum des Obersten Volksgerichts Nr. 316
 
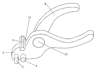
Streitpatent betrifft eine Vorrichtung zum Biegen von Kirschner-Draht. Der Erfindungsgedanke besteht darin, dass der Kopf einer Spitzzange als Drehachse dient, und der Berührungskopf (3), der die Biegekraft auf den Kirschner-Draht (80) ausübt, um diese Drehachse rotiert, damit der von zwei Haltebacken gehaltene Kirschner-Draht um einen Formkernblock (6) gebogen wird. Dadurch wird beim Biegen und Abtrennen des Kirschner-Drahts ständig eine Haltekraft auf diesen ausgeübt.
 
 
 
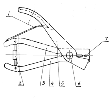
Entgegenhaltung 1 betrifft einen orthopädischen Bieger für Kirschner-Draht, wobei ein auf einer Basis (5) angeordneter Formkernblock (1) und ein Begrenzungsstift (4) gemeinsam zur Positionierung des Kirschner-Drahts dienen. Ein um eine Drehachse (3) drehbarer Betätigungsblock (6) bewegt den Kirschner-Draht, damit er um den Formkernblock (1) gebogen wird, wodurch die Nachteile herkömmlicher Zangen vermieden werden, bei denen der Draht zunächst gegriffen und dann in gegriffenem Zustand mühsam gebogen werden muss.
 
 
 
Entgegenhaltung 2 betrifft eine Biegezange für Nadelende einer Stahlnadel, wobei die Stahlnadel (7) mittels der Zangenkörper (3, 4) so gegriffen, dass der obere Zangenkörper (5) um einen Achsbolzen (6) umdrehen, um das Nadelende der Stahlnadel (7) zu biegen. Die Zangenkörper (3) und (4) können durch eine Rast (2) einrastet werden, wodurch der Biegevorgang zeitsparend und kraftschonend durchgeführt werden kann.
 
  
 
Auffassung des Obersten Volksgerichts: In der „Feststellung des technischen Aufschlusses“ hat das Oberste Volksgericht das Erfindungskonzept des Streitpatents wie folgendes zusammengefasst: „die Rotationsebene des Berührungskopfs ist senkrecht zur Erstreckungsrichtung (oder Längenrichtung) des Kopfes der Spitzzange, aber parallel zur Richtung der Drehachse der Zange angeordnet, sodass der Berührungskopf um den Kopf der Spitzzange drehen kann“. Das Oberste Volksgericht hat das Erfindungskonzept der Entgegenhaltung 1 wie folgendes zusammengefasst: „die Rotationsebene des Berührungskopfs ist parallel zur Erstreckungsrichtung der Basis, aber senkrecht zur Richtung der Drehachse der Zange angeordnet, sodass der Berührungskopf nur auf einer Seite der Basis drehen kann“.
 

Somit hat das Oberste Volksgericht darauf hingewiesen, dass zwischen dem Streitpatent und der Entgegenhaltung 1 ein deutlicher Unterschied hinsichtlich des Erfindungskonzepts besteht und die technische Lehre von Entgegenhaltung 1 nicht zur Lösung des technischen Problems des Streitpatents führt. Darüber hinaus verläuft die Rotationsebene des Berührungskopfs (5) in Entgegenhaltung 2 parallel zur Mittelachse in der Längenrichtung der Spitzzange, sodass eine Rotation um die Mittelachse in der Längenrichtung der Spitzzange unmöglich ist. Daher bietet Entgegenhaltung 2 keinen technischen Aufschluss, den Aufbau von Entgegenhaltung 1 in den des Streitpatents umzuwandeln.
 
[Fall 2]
 
In der Praxis hat der Verfasser unter Bezugnahme auf die im Fall 1 dargelegte höchstrichterliche Auffassung – „die Beurteilung des technischen Aufschlusses aus der Perspektive des Erfindungskonzepts“ – beim Argumentieren bezüglich der erfinderischen Tätigkeit erfolgreich vorgebracht. Nachfolgend wird der Sachverhalt kurz beschrieben.
 
Streitpatent betrifft ein Verfahren zur Herstellung der Verbundfolien. Der Erfindungsgedanke besteht darin, dass zwei Folien (A, B), aus denen die Verbundfolie besteht, bei der Förderung miteinander verbunden werden. Sobald die Restlänge mindestens eines der beiden Folien einen vorgegebenen Schwellenwert erreicht, wird der Verbindungszeitpunkt der jeweiligen Folien so gesteuert, dass die Positionsabweichung zwischen den Verbindungsteilen (A1, B1) der beiden Folien innerhalb eines vorgegebenen Bereichs liegt. Dadurch kann der Abfall bei der Entsorgung der als Verbundfolien unbenutzbaren Verbindungsteile (A1, B1) reduziert und Materialverschwendung vermieden werden.
 
Entgegenhaltung betrifft ein Zufuhrverfahren, wobei beim Erreichen der vorgegebenen Restlänge des Basismaterials (1) ein neues Material (2) mit der gleichen Transportgeschwindigkeit wie das Basismaterial (1) zugeführt und anschließend mit diesem verbunden wird, sodass die Verbindung zuverlässig erfolgt und die kontinuierliche Zufuhr gewährleistet wird.
 
Das Erfindungskonzept des Streitpatents – „ eine Folie A wird zur Bildung vom Verbindungsteil A1 verbunden und eine Folie B wird zur Bildung vom Verbindungsteil B1 verbunden, wobei der Verbindungszeitpunkt so gesteuert wird, dass die Positionsabweichung zwischen dem Verbindungsteil A1 und dem Verbindungsteil B1 innerhalb eines vorgegebenen Bereichs liegt“ – unterscheidet sich deutlich von des Erfindungskonzept der Entgegenhaltung – „das neue Material (2) mit der gleichen Transportgeschwindigkeit wie das Basismaterial (1) wird mit demselben verbunden (dabei entsteht nur ein Verbindungsteil)“. Mit der Darlegung des Unterschieds hinsichtlich des Erfindungskonzepts und des Arguments, dass die Entgegenhaltung keinen technischen Aufschluss für das Streitpatent bietet, wurde das Patent nach Erwiderung des ersten Prüfungsbescheids direkt erteilt.
 
[Zusammenfassung]
 
Wie aus den oben genannten Fällen ersichtlich ist, kann bei der Beurteilung der erfinderischen Tätigkeit nach der „Drei-Schritt-Methode“ durch die Darlegung der konkreten Unterschiede in Bezug auf das Erfindungskonzept die Nicht-Offensichtlichkeit der Erfindung konkret veranschaulicht werden, sofern zwischen der Erfindung und dem Stand der Technik ein deutlicher Unterschied bezüglich des Erfindungskonzepts besteht. Dies kann den Prüfer dazu anleiten, die erfinderische Tätigkeit objektiver zu beurteilen.
 
Mit anderen Worten kann die Erläuterung der Unterschiede in Bezug auf das Erfindungskonzept im dritten Schritt bei der Beurteilung der erfinderischen Tätigkeit – nämlich bei der Beurteilung, „ob die Erfindung für den Fachmann naheliegend ist“ – eine positive Rolle spielen. Bezüglich der praktischen Anwendung, wie das Erfindungskonzept bei der Beurteilung der erfinderischen Tätigkeit wirksam genutzt werden kann, werden im Folgenden einige Ansätze vorgeschlagen:
 
(1) Zunächst sollte das Erfindungskonzept der Erfindung und das des Stands der Technik anhand der Logik der Neugestaltung der Erfindung, nämlich der Logik von „Erkennen oder Erheben des technischen Problems → Festlegung des technischen Ziels → Erforschung und Auswahl der technischen Mittel“, analysiert werden.
 
(2) Anschließend ist es zu bestimmen, ob zwischen dem Erfindungskonzept der Erfindung und dem des Stands der Technik ein deutlicher Unterschied besteht. Die Schwierigkeit liegt hierbei darin, dass die Beurteilungsmaßstäbe für einen „deutlichen Unterschied“ nicht klar definiert sind, was leicht zu Streitigkeiten führen kann.
 
Der Verfasser ist der Ansicht, dass eine ganzheitliche Betrachtung des „technischen Problems“, des „technischen Ziels (technischen Effekts)“ sowie der „technischen Mittel“ dazu beiträgt, einen „deutlichen Unterschied“ genau zu bestimmen.
 
Neben den Fällen wie Fall 1, wobei deutliche Unterschiede in Bezug auf technisches Problem, technisches Mittel und technischen Effekt bestehen und somit ein „deutlicher Unterschied bezüglich des Erfindungskonzepts“ anerkannt werden kann, sollten auch die folgenden Fälle als „deutlicher Unterschied in Bezug auf das Erfindungskonzept“ angesehen werden:
 
Zum Beispiel, wenn die Erfindung und der Stand der Technik im Wesentlichen das gleiche technische Problem und technische Ziel aufweisen, aber deutlich unterschiedliche technische Wege und Mittel verwenden, sodass der Fachmann den Übergang zwischen diesen unterschiedlichen technischen Mitteln nicht ohne Weiteres vollziehen kann (mit anderen Worten, es dem Stand der Technik an einen technischen Aufschluss mangelt, die als Brücke zwischen den unterschiedlichen technischen Mitteln dienen könnte).
 
(3) Schließlich sollte, sofern ein deutlicher Unterschied in Bezug auf das Erfindungskonzept festgestellt wird, im dritten Schritt der „Drei-Schritte-Methode“ – nämlich bei der Beurteilung, „ob die Erfindung für den Fachmann naheliegend ist“ – der Unterschied in Bezug auf das Erfindungskonzept klar und präzise dargelegt werden. Dabei ist geltend zu machen, dass aufgrund dieses Unterschieds der Stand der Technik keinen technischen Aufschluss bietet, um die technische Lösung der Erfindung zu erhalten.

©2008-2026 By Linda Liu & Partners, All Rights Reserved.
©2008-2025 By Linda Liu & Partners, All Rights Reserved.
×

Öffnen Sie WeChat 'Scan', öffnen Sie die Webseite und klicken Sie auf die Schaltfläche Teilen in der oberen rechten Ecke des Bildschirms